La marca alemana ha registrado un selector de marchas shift-by-wire capaz de alternar entre un funcionamiento automático estándar y un tradicional patrón en H. Esta tecnología pretende fusionar la comodidad del uso diario con la experiencia física de la conducción deportiva clásica.
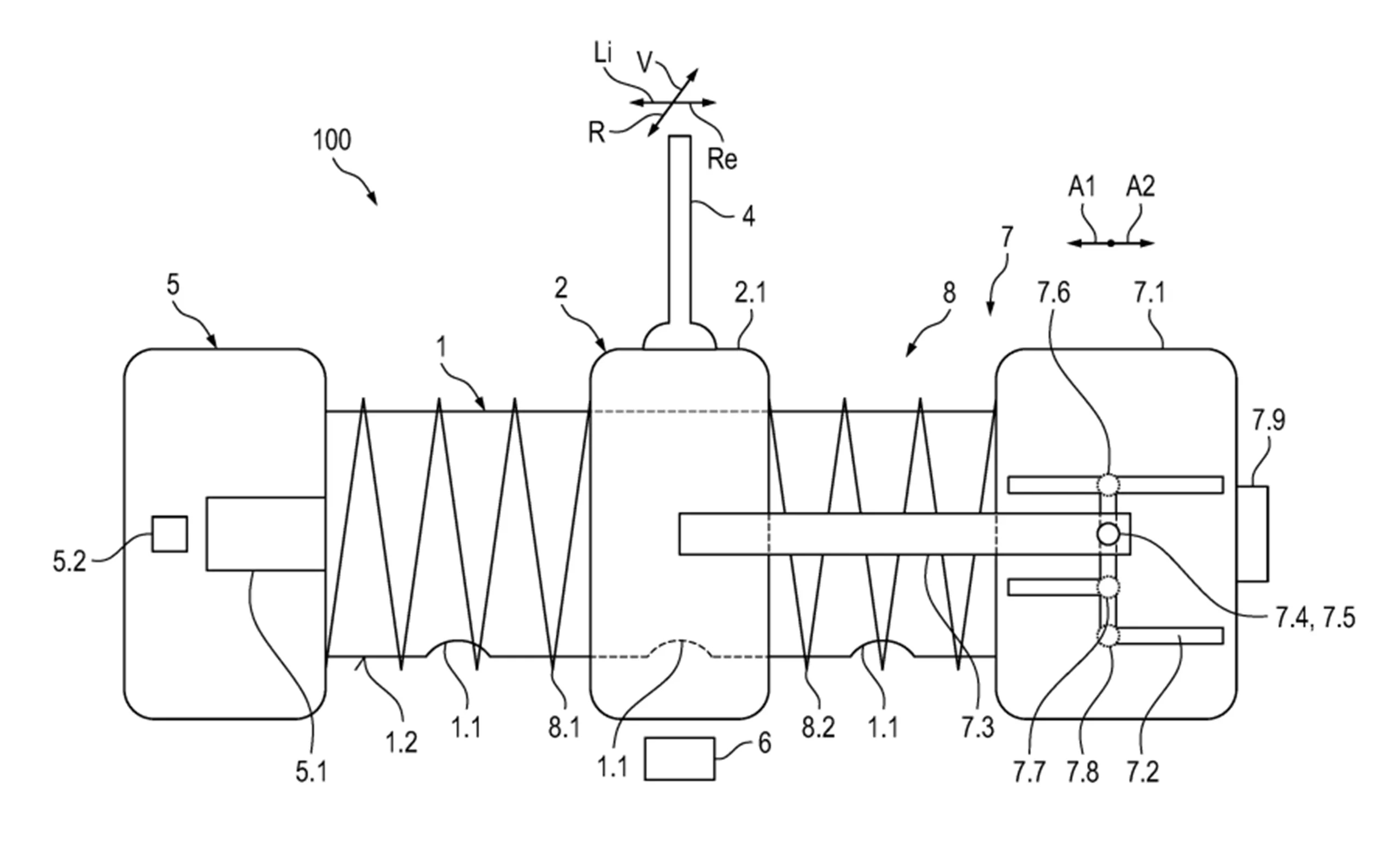
Hace 13 años, la firma de Stuttgart tomó la controvertida decisión de eliminar la opción manual en el 911 GT3 de la generación 991. La fuerte reacción en contra de sus clientes obligó a revertir la medida en la actualización 991.2, manteniendo desde entonces el tercer pedal en varias versiones del 911. Ahora, con las cajas mecánicas viviendo en tiempo de descuento debido a la expansión de la electrificación en la industria, una patente presentada en agosto de 2024 y publicada a principios de marzo confirma que los ingenieros de Weissach buscan satisfacer tanto a los conductores más puristas como a quienes prefieren la facilidad de la transmisión PDK. El documento presentado ante la Oficina Alemana de Patentes y Marcas detalla el funcionamiento de un selector híbrido sin conexión mecánica directa.

En su uso como transmisión automática, el conductor solo necesita desplazar la palanca hacia delante y hacia atrás para alternar entre marcha adelante, punto muerto y marcha atrás. Sin embargo, para ofrecer una experiencia analógica, el sistema incorpora un modo con patrón en H que permite mover el selector también hacia los lados. Una red de sensores registra cada movimiento milimétrico, mientras que un esquema de resortes y motores eléctricos se encarga de recrear de forma física la tensión, la resistencia y el tacto característicos al engranar una marcha.
Este selector shift-by-wire permitiría a Porsche ofrecer la sensación pura de una caja clásica independientemente del mecanismo subyacente, ya sea un cambio automático de convertidor de par convencional o uno de doble embrague. El concepto técnico sigue una filosofía similar a la vista en los hipercoches del fabricante sueco Koenigsegg, como el CC850 y el Chimera. Su sistema emplea seis embragues, tres ejes y un pedal físico, con un fuerte apoyo electrónico para lograr que el selector transmita las reacciones de un engranaje tradicional.
El verdadero desafío de este planteamiento reside en los costes de desarrollo. Mientras que soluciones de ingeniería tan complejas pueden repercutirse en el precio final de hipercoches de varios millones de dólares, integrar esta tecnología en la gama de coches de Porsche exige hacerla viable a una escala con expectativas de precios mucho más ajustadas. Además, la marca debe justificar esta inversión frente al alto refinamiento que ya ofrecen sus cajas manuales y las eficientes alternativas PDK en la actualidad.
En cualquier caso, conviene recordar que al tratarse de un registro de propiedad industrial, no existen garantías de que esta palanca de doble comportamiento llegue finalmente a un vehículo de producción, dado que los fabricantes patentan constantemente soluciones que no siempre alcanzan la calle.